巨型工程子午线轮胎钢丝圈预硫化室
一、引言
因巨型工程子午线轮胎钢丝圈单胎重量27-125kg,单钢钢丝圈缠绕根数约200-500圈数,钢丝圈厚度较厚,未硫化的钢丝圈在成型正反包、硫化定型、硫化作业过程中,易产生钢丝圈开裂,散丝等不良现象,无法达到工艺要求,以及此钢丝圈生产的轮胎在矿山使用性能不佳。
二、钢丝绳预硫化室设计说明
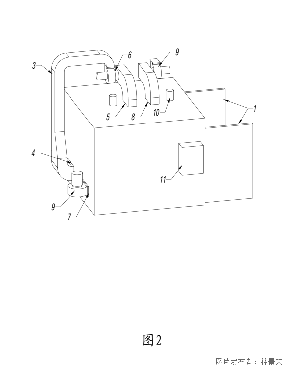
巨型工程子午线轮胎钢丝圈预硫化室,主体为六面矩形结构,正面为全开门,并在侧外壁上设置有电控柜;其特征在于:全开门配置有一对平开的保温门扇,并带自动锁装置;主体在左右壁和后壁上设置有加热装置,底面设置有一对供推车行进的轨道;在主体后壁与顶面之间设置有热对流通道,该热对流通道附着或绕设在后壁与顶面的外表面,连通设置在后壁下部的热进口与设置在顶面的热出口,并在热出口端设置有热端鼓风机;在主体后壁下部还设置有冷却风进口、顶面设置有冷却风出口,在所述冷却风进口和冷却风出口上均配置有冷端鼓风机,形成一进一出强制散热结构;所述自动锁装置、热端鼓风机和冷端鼓风机,均由电控柜协同控制。
所述热对流通道为变径管道,接热进口端为喇叭口。
所述主体底面的轨道为凹槽结构,并对称分立在中轴线两侧底面上。
所述主体顶面还设置有温度传感器,并与电控柜电连接。


1—保温门扇 | 2—轨道 | 3—热对流通道 | 4—热进口 |
5—热出口 | 6—热端鼓风机 | 7—冷却风进口 | 8—冷却风出口 |
9—冷端鼓风机 | 10—温度传感器 | 11—电控柜 |
验收标准
通过对钢丝圈的提前预硫化,有效解决了钢丝圈在成型正反包、硫化定型、硫化作业过程中,易产生钢丝圈开裂,散丝等不良现象。
结论:
预硫化室的设计和使用,使钢丝圈先进行预硫化加热,保障钢丝圈不易在成型正反包、硫化定型、硫化作业过程中,产生开裂,即提高了产品品质的稳定性,也满足了生产工艺要求,大大提高了产品的市场竞争力。
论文作者:林景来、卢金洪、张文标、何维榕
提交

投诉建议